When working with thin-walled materials, you often find yourself confronted with the problem that it is only possible to make 1-2 threads in them. Generally speaking, this number of threads is not sufficient for supporting a load.
In the past, the solution to this problem was to use rivet, weld or clinch nuts. Every practitioner is however well aware of the drawbacks of these traditional joining techniques. Installation is not only time-consuming, but it is also necessary to put up with disadvantages in terms of the quality and reliability of the joint. During installation, rivet nuts can become skewed, can start to turn at the same time or become loose when tightening - extra work and waste being the outcome.
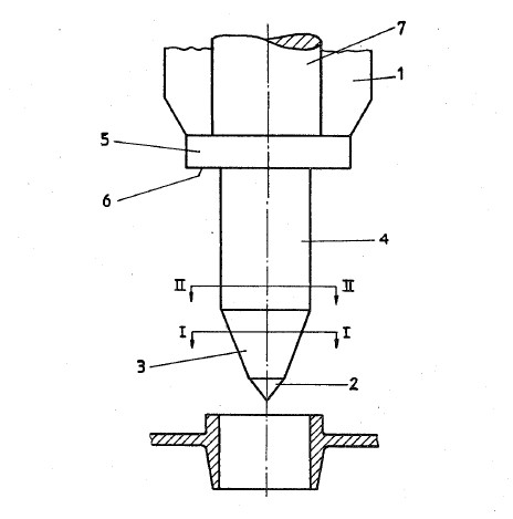
In 1923, in a little barn in the south of France, Jan Claude de Valliere attemp-ted to develop a tool for producing holes in thin steel sheet using the principle
of frictional heat instead of cutting. Aftermany experiments, he was technically successful.
However, practical industrial applica-tions were not possible, because:
- Very hard material such as tungsten carbide was not available.
- Correct geometry of the tools was not known.
- Diamond grinding wheels for hard materials did not exist.
- Machinery to generate the required complicated profile were not available.
It would take almost 60 years before these problems could be solved and the
Fdrill could find its way to successful commercial use.